- Information
-
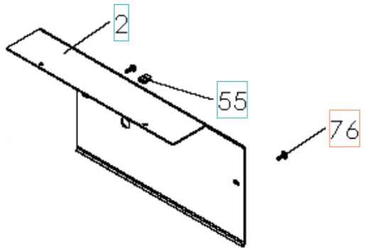
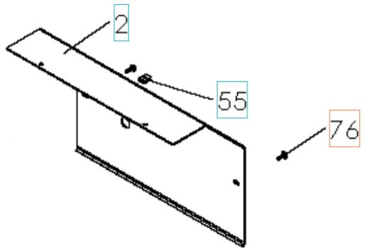
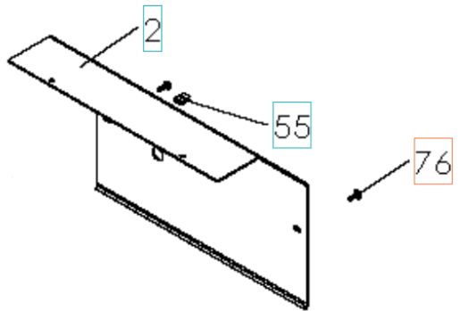
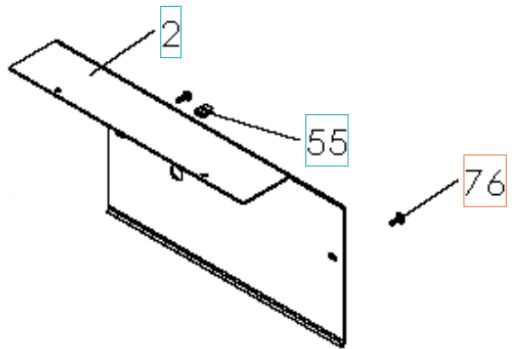
Screw, 5196534-26
Spare part from Husqvarna
Fits, among others:
Husqvarna TF120
Husqvarna TF224 (966786701, 967258701)
Husqvarna TF324 (966786801, 967258801)
Husqvarna TF334 (967258901)
Husqvarna TF434P (966787001)
Husqvarna TF435
Husqvarna TF435P
Husqvarna TF536 (966787101, 967024601, 967329901, 967330001, 967637801)
Jonsered
Jonsered CT2154 (965896701)
Jonsered CT2166 (965896901)
Partner
Partner PFT55 170R (966669701)
Partner PFT85 800R (966669801)
Mcculloch
Mcculloch MFT55 170R (966649401)
Mcculloch MFT85 160R (966649601)
Would you like to search through Husqvarna exploded views and spare parts? Then please use our spare parts catalogue. Click here to access the spare parts catalogue. Please remember to always verify the correct part number using the exploded view for your machine. - Specifications
-
Manufacturer's part number: 519 65 34-26 , 519653426 - Files
Price history
Price history
Our lowest price 30 days:

Uk - GBP
Sweden - SEK


