- Information
-
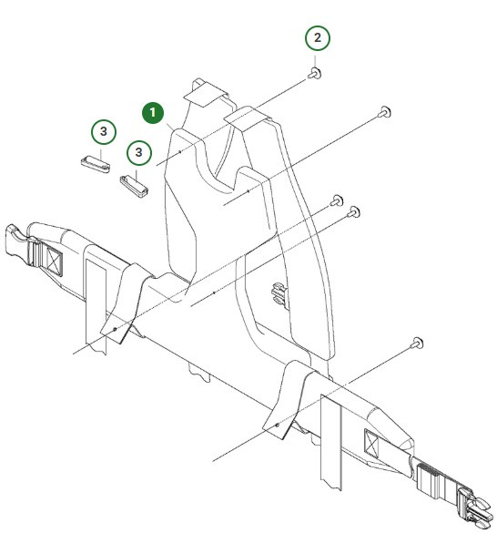
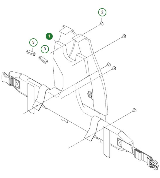
Husqvarna spare part with article number 576579101
Would you like to browse Husqvarna parts diagrams and spare parts? Then use our spare parts catalog. Click here to access the catalog.. - Specifications
-
Manufacturer's part number: 576 57 91-01 , 576579101 - Files
Price history
Price history
Our lowest price 30 days:

Uk - GBP
Sweden - SEK

